freebus.org

Open Bus System
Aktuelle Zeit: 15. Juni 2015 11:50

Alle Zeiten sind UTC + 2 Stunden




Ein neues Thema erstellen Auf das Thema antworten  [ 13 Beiträge ] 
Autor Nachricht
 Betreff des Beitrags: Bewegungsmelder am 8in
BeitragVerfasst: 27. Mai 2012 20:08 
Offline
Senior Boarder
Senior Boarder

Registriert: 26. September 2008 08:29
Beiträge: 47
Ich wollte euch noch an meinen Bewegungsmeldern teil haben lassen.
Ich nutze sie um im Flur usw. das Licht zu schalten...

benutzt habe ich folgende Module aus China:

http://www.ebay.de/itm/200607466625?ssP ... 1423.l2649

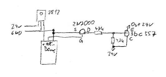
Mit folgender Schaltung habe ich die 5V out 24V verstärkt.
Dateianhang:
schaltung.jpg
schaltung.jpg [ 8.86 KiB | 1457-mal betrachtet ]


Und wie folgt auf Lochraster aufgebaut
Dateianhang:
DSC02038a.jpg
DSC02038a.jpg [ 85.5 KiB | 1457-mal betrachtet ]

Dateianhang:
DSC02037a.jpg
DSC02037a.jpg [ 112.65 KiB | 1457-mal betrachtet ]


Die Ausschaltverzögerung habe ich so auf 30s eingestellt. Der Anschluß ohne Kabel wollte ich eventuell als Sabotagekontakt verwenden.


Nach oben
 Profil  
 
 Betreff des Beitrags: Re: Bewegungsmelder am 8in
BeitragVerfasst: 27. Mai 2012 20:12 
Offline
Senior Boarder
Senior Boarder

Registriert: 26. September 2008 08:29
Beiträge: 47
Das Ganze dann einfach in so einen Abzweig-Baldachin
Dateianhang:
DSC02844a.jpg
DSC02844a.jpg [ 90.93 KiB | 1456-mal betrachtet ]


Der 8in ist wie folgt zu konfigurieren: Das Sperrobjekt kommt vom Kombisensor
Dateianhang:
5.jpg
5.jpg [ 40.26 KiB | 1456-mal betrachtet ]

Dateianhang:
5sperre.jpg
5sperre.jpg [ 33.63 KiB | 1456-mal betrachtet ]


Viel Spaß beim Nachbauen

Matthias


Nach oben
 Profil  
 
 Betreff des Beitrags: Re: Bewegungsmelder am 8in
BeitragVerfasst: 6. Juni 2012 13:33 
Offline
Junior Boarder
Junior Boarder

Registriert: 8. März 2012 15:50
Beiträge: 33
Hi,
coole Sache . Hast du noch ein 5 x IR Detector Module da?

Ich würde gerne den BM im außenbereich einsetzen und somit ggf. modifizieren.

Gruß
Kalla


Nach oben
 Profil  
 
 Betreff des Beitrags: Re: Bewegungsmelder am 8in
BeitragVerfasst: 7. Juni 2012 00:26 
Offline
Senior Boarder
Senior Boarder

Registriert: 26. September 2008 08:29
Beiträge: 47
Hi Kalla,

leider nein ich habe sie alle verbaut.

Matthias


Nach oben
 Profil  
 
 Betreff des Beitrags: Re: Bewegungsmelder am 8in
BeitragVerfasst: 9. Juni 2012 11:34 
Offline
Senior Boarder
Senior Boarder

Registriert: 31. Januar 2010 22:16
Beiträge: 41
Hallo,

habe den gleichen Bewegungsmelder mit Freebus Modulen im Einsatz: Je ein Bewegungsmelder im Wohnzimmer, auf der Treppe oben, auf der Treppe unten, im Flur vorne und im Flur hinten. Die Bewegungsmelder sind über den EIB Bus mit der Alarmanlage verbunden und auf der Treppe und im Flur wird über die Bewegungsmelder das Licht eingeschaltet.

Funktioniert seit ca. einem Jahr einwandfrei. Man muss allerdings darauf achten, dass die Sonne nicht direkt auf die Bewegungsmelder scheinen kann.

Ich habe allerdings das "Problem" mit der Stromversorgung anders gelöst. Habe die Stromversorgung auf den Freebus Modul auf 5 V geändert (anderer Widerstand notwendig) und dann über zwei Dioden für den LPC auf ca. 3.3V reduziert. Alternativ kann man auch eine LED nehmen (siehe Phillips Application Note AN10220 "Philips LPC900 family in 5 V environments"). Damit stehen 5V für den Bewegungsmelder direkt auf dem Freebus Modul zur Verfügung. Die Eingänge des LPC sind 5V tolerant, so dass kein weiterer Level Shifter notwendig ist.

Grüße

dgra
P.S: Hätte noch ein Bewegungsmelder Modul übrig.


Nach oben
 Profil  
 
 Betreff des Beitrags: Re: Bewegungsmelder am 8in
BeitragVerfasst: 9. Juni 2012 14:21 
Offline
Platinum Boarder
Platinum Boarder

Registriert: 9. Oktober 2007 20:48
Beiträge: 961
Wohnort: Bad Königshofen
So ähnlich hab ich das im controller 3.52, alledings ein LDO MCP1702-33 (Reichelt) eingesetzt.
weiterer Vorteil ist die sauberere VCC. Bei Verwendung internen osc ist dessen Frequenz auch
vom ripple der VCC abhängig.

_________________
LG
Andreas


Nach oben
 Profil  
 
 Betreff des Beitrags: Re: Bewegungsmelder am 8in
BeitragVerfasst: 9. Juni 2012 15:09 
Offline
Senior Boarder
Senior Boarder

Registriert: 20. Januar 2012 15:55
Beiträge: 47
gibt es die Lösung, die kein Eingang-Module braucht?


Nach oben
 Profil  
 
 Betreff des Beitrags: Re: Bewegungsmelder am 8in
BeitragVerfasst: 9. Juni 2012 20:53 
Offline
Platinum Boarder
Platinum Boarder

Registriert: 9. Oktober 2007 20:48
Beiträge: 961
Wohnort: Bad Königshofen
Es ist eine andere Version in Arbeit die mit einem Gira Rauchmelder arbeitet.
Hierin ist eine kleine Platine an einer definierten schnittstelle angebracht die direkt
am BUS angeschlossen wird.


edit: sorry, hab da was verwechselt. Bewegungsmelder ist mir nichts weiter bekannt

_________________
LG
Andreas


Nach oben
 Profil  
 
 Betreff des Beitrags: Re: Bewegungsmelder am 8in
BeitragVerfasst: 11. Juni 2012 15:23 
Offline
Junior Boarder
Junior Boarder

Registriert: 2. Mai 2008 15:37
Beiträge: 36
Darf ich fragen um welchen Gira Rauchmelder es sich handelt?

Gruß
Andreas


Nach oben
 Profil  
 
 Betreff des Beitrags: Re: Bewegungsmelder am 8in
BeitragVerfasst: 8. September 2012 19:24 
Offline
Junior Boarder
Junior Boarder

Registriert: 20. Juni 2010 15:11
Beiträge: 28
Hello,

These are nice small PIR sensors that are easy to hide away. I have 4 of them for a while now. Today I needed one and found out that these sensors have voltage regulator of 3,3V (input 4,5 to 20V). Since I'm going to use the tasterschnittstelle for a interface, I have a 3,3V power supply. I removed and bridged the voltage regulator on the sensor like shown on the picture. Simply connect the 3 wires (VCC, GND and Taster1) and ready, I thought.
I found out the sensor switches on and off unintended continually. I think it is the same problem I had before when I used the LPC controller power supply to power a DCF77 receiver, the LPC power supply is not clean. I do not have a oscilloscope to test this, but I'm nearly sure this is the problem...


Can we fix this problem? It would make the LPC controllers a LOT more universal if we could use the power supply without problems like these


Dateianhänge:
201209081906_734.jpg
201209081906_734.jpg [ 351.33 KiB | 1079-mal betrachtet ]
Nach oben
 Profil  
 
 Betreff des Beitrags: Re: Bewegungsmelder am 8in
BeitragVerfasst: 19. September 2012 16:06 
Offline
Senior Boarder
Senior Boarder

Registriert: 25. März 2011 08:31
Beiträge: 54
Ich versuche nun schon länger diese Module auf Ebay zu kaufen.
Leider heißt es immer Versand nach Österreich nicht möglich :-(

Hat hier ein Österreicher diese Dinger schon bestellen können?

LG Hannes


Nach oben
 Profil  
 
 Betreff des Beitrags: Re: Bewegungsmelder am 8in
BeitragVerfasst: 25. September 2012 16:06 
Offline
Fresh Boarder
Fresh Boarder

Registriert: 20. September 2012 11:34
Beiträge: 9
Ihr könntet auch einfach sowas hier verwenden:
http://www.reichelt.de/?ARTICLE=117276

Hätte sogar den Charm das man es komplett unsichtbar machen kann, entweder in der Zwischendecke oder einfach überputzen.

Hat schon mal jemand mit sowas experimentiert?
Die Luxomate von B.E.G. benutzen ja die gleiche Technik.

Gruß
Ben


Nach oben
 Profil  
 
 Betreff des Beitrags: Re: Bewegungsmelder am 8in
BeitragVerfasst: 11. November 2012 12:32 
Offline
Junior Boarder
Junior Boarder

Registriert: 20. Juni 2010 15:11
Beiträge: 28
Hello,

Today I have found my way to make this little motion sensor work.
I made a small power supply for the sensor based on this design:

http://www.electronicecircuits.com/elec ... wer-supply

I don’t know if it is necessary for such a elaborate power supply, however, it does work perfect now.
I connected the input for the power supply just behind the 150mH inductor.
I used a tasterschnittstelle as interface, and simply connected the output from the motion sensor to one of the tasterschnittstelle inputs.

Have fun


Dateianhänge:
201211111122_763.jpg
201211111122_763.jpg [ 93.59 KiB | 828-mal betrachtet ]
Nach oben
 Profil  
 
Beiträge der letzten Zeit anzeigen:  Sortiere nach  
Ein neues Thema erstellen Auf das Thema antworten  [ 13 Beiträge ] 

Alle Zeiten sind UTC + 2 Stunden


Wer ist online?

Mitglieder in diesem Forum: 0 Mitglieder und 1 Gast


Du darfst keine neuen Themen in diesem Forum erstellen.
Du darfst keine Antworten zu Themen in diesem Forum erstellen.
Du darfst deine Beiträge in diesem Forum nicht ändern.
Du darfst deine Beiträge in diesem Forum nicht löschen.
Du darfst keine Dateianhänge in diesem Forum erstellen.

Suche nach:
Gehe zu:  
Powered by phpBB® Forum Software © phpBB Group
Deutsche Übersetzung durch phpBB.de